Поездной кран машиниста Локомотивное реле
Поездной кран машиниста Локомотивное реле
Поездной кран машиниста усл.№395М
Назначение и область применения поездного крана машиниста усл.№395М

Поездной кран машиниста усл.№395М служит для управления пневматическими тормозами поезда; с его помощью производится зарядка тормозной магистрали, поддержание в ней определенного давления и выпуск воздуха в атмосферу при торможении.

Применяется для управления автоматическими и электропневматическими тормозами грузовых и грузопассажирских поездов с функцией дистанционного управления автоматическим тормозом и возможностью включения песочниц и отключения режима тяги локомотива при экстренном торможении.

Конструкция поездного крана машиниста усл.№395М

К конструкции поездного крана машиниста усл.№395М предъявляются следующие технические требования:

  1. Для ускорения процесса зарядки и отпуска тормозов должно использоваться давление главных резервуаров;
  2. Кран должен автоматически переходить с любого сверхзарядного давления в тормозной магистрали на зарядный уровень регулируемым темпом;
  3. При поездном положении ручки кран должен поддерживать требуемое заданное давление в тормозной магистрали;
  4. У крана должно быть положение перекрыши; желательно, два положения: с питанием и без питания утечек из тормозной магистрали;
  5. Служебное торможение кран должен обеспечивать определенным темпом с любого уровня зарядного давления, как полное, так и ступенчатое;
  6. Отпуск тормозов должен быть полным и ступенчатым;
  7. При отпуске в поездном положении ручки крана должна быть автоматическая зависимость между значением начального скачка давления в тормозной магистрали и предшествовавшей ступенью торможения;
  8. При экстренном торможении кран должен обеспечивать прямое сообщение тормозной магистрали с атмосферой.
Поездной кран машиниста усл.№395М имеет 7 положений ручки:
  • положение - зарядка и отпуск.
  • положение - поездное, поддержание нормального зарядного давления.
  • положение - перекрыша без питания тормозной магистрали.
  • положение - перекрыша с питанием тормозной магистрали.
  • положение - используется в тяжеловесных, свыше 6000 т. и длинносоставных свыше 350 осей (идет медленная разрядка тормозной магистрали для надежного срабатывания тормозов в хвостовой части поезда).
  • положение – служебное торможение.
  • положение – экстренное торможение.

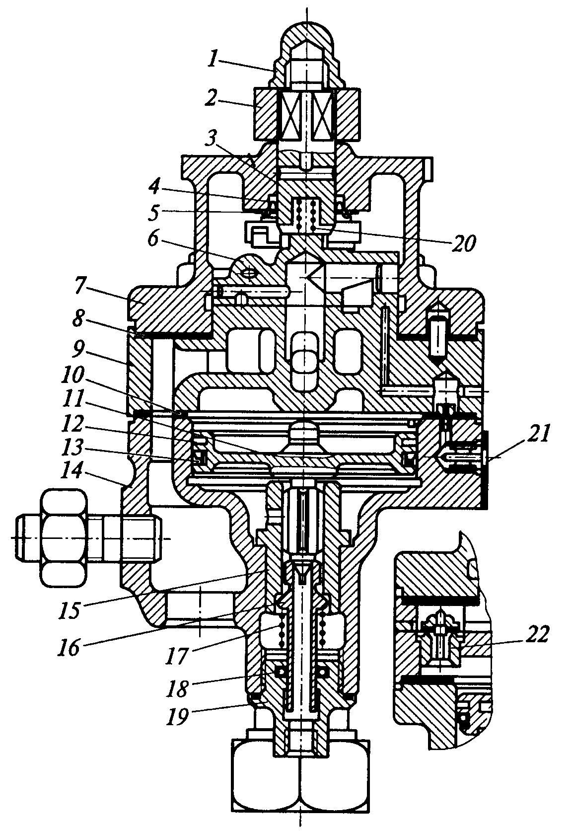
Поездной кран состоит из пяти пневматических частей: корпуса нижней части 1, редуктора зарядного давления 2, средней части 3, крышки 4, стабилизатора темпа ликвидации сверхзарядного давления 8 и электрического контроллера 6.

Поездной кран машиниста усл.№395М

В верхней части крана имеется золотник 6, соединенный стержнем 3 с ручкой 2 крана. Ручка крана закреплена контргайкой 1 и имеет на крышке 7 верхней части семь фиксированных положений. Стержень уплотнен в верхней части крышки манжетой 4.

В нижней части корпуса 14 находятся пустотелый впускной клапан 16 и уравнительный поршень 11, хвостовик которого образует выпускной клапан. Уравнительный поршень уплотнен резиновой манжетой 13 и латунным кольцом 12. Впускной клапан прижимается к седлу 15 пружиной 17. Хвостовик впускного клапана уплотнен резиновой манжетой 18, установленной в цоколе 19.

Верхняя, средняя и нижняя части поездного крана машиниста усл.№395М

В нижнюю часть корпуса ввернуты четыре шпильки, которые скрепляют все три части крана через резиновые прокладки 8 и 10, а также сетчатый фильтр 21.

Редуктор зарядного давления и стабилизатор темпа ликвидации сверхзарядного давления крепятся к корпусу нижней части крана.

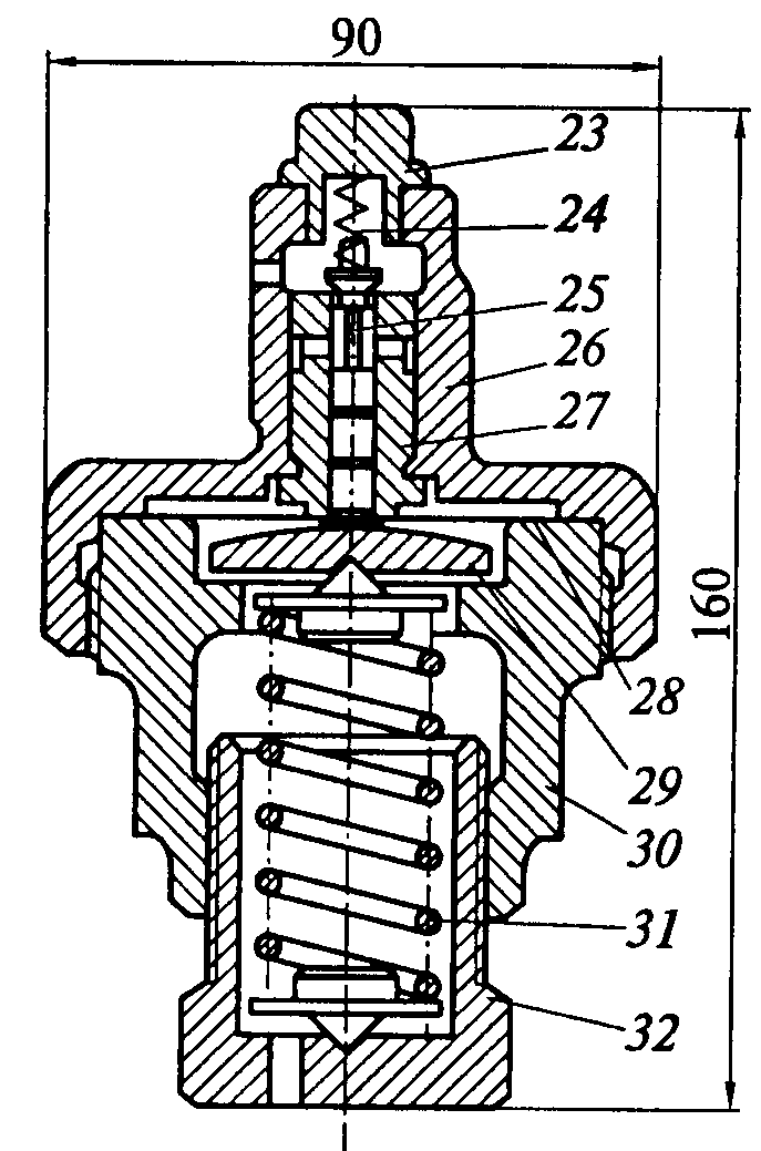
Редуктор

Редуктор предназначен для автоматического поддержания определенного зарядного давления в уравнительном объеме крана при поездном положении ручки. Редуктор состоит из двух частей: верхней — крышки 26 и нижней — корпуса 30, между которыми зажата металлическая диафрагма 28. В верхней части корпуса расположено седло 27 питательного клапана 25, пружина 24 и заглушка 23. В нижнюю часть ввернут регулировочный стакан 32, с помощью которого изменяется усилие регулировочной пружины 31 на опорную шайбу 29.

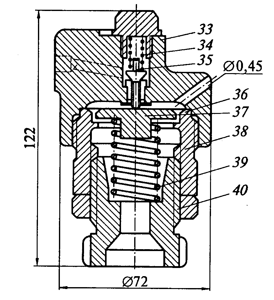
Стабилизатор предназначен для автоматической ликвидации сверхзарядного давления из уравнительного объема крана постоянным темпом при поездном положении ручки. Стабилизатор состоит из крышки 33 с калиброванным отверстием диаметром 0,45 мм, возбудительного клапана 35 с пружиной 34, металлической диафрагмы 36, пластмассовой упорной шайбы 37, корпуса 38, регулировочной пружины 39 и регулировочного стакана 40 с контргайкой.

Стабилизатор

Особенностью поездного крана машиниста усл.№395М всех модификаций является наличие контроллера, который в кранах № 395-000, 395-000-4 и 395-000-5 служит для одновременного управления пневматическими и электропневматическими тормозами. В кране усл.№395-000-4 контроллер помимо управления электропневматическими тормозами служит для выключения тяговых двигателей и включения пневматической песочницы при экстренном торможении, а в кране № 395-000-3 — только для выключения тяговых двигателей и включения песочницы при экстренном торможении.

Конструкции контроллеров поездных кранов машиниста усл.№395 отличаются числом микропереключателей, их расположением, числом проводов и типом штепсельного разъема. На кранах № 395-000-3 наружный диаметр контроллера меньше, чем на кранах других модификаций.

Краны машиниста № 395-000 с двумя микропереключателями и № 395-000-4 с тремя применяются на пассажирских локомотивах. Кран машиниста № 395-000-5 с двумя микропереключателями, включенными по схеме, отличной от схемы крана № 395-000, применяется на электро- и дизель-поездах, а кран машиниста № 395-000-3 с одним микропереключателем - на грузовых локомотивах.

Контроллер поездного крана машиниста усл.№395М